全国2011年7月自考计算机组成原理试题
《自考视频课程》名师讲解,轻松易懂,助您轻松上岸!低至199元/科!
全国2011年7月高等教育自学考试
计算机组成原理试题
课程代码:02318
一、单项选择题(本大题共15小题,每小题2分,共30分)
在每小题列出的四个备选项中只有一个是符合题目要求的,请将其代码填写在题后的括号内。错选、多选或未选均无分。
1.运算器和控制器合称为( )
A.主机 B.外设
C.ALU D.CPU
2.若十进制数为73,则其对应的二进制数为( )
A.1001010 B.1001001
C.1010100 D.1101001
3.若十六进制数为1A,则相应的十进制数为( )
A.16 B.17
C.26 D.3l
4.补码加法运算是指( )
A.操作数用补码表示,符号位单独处理
B.操作数用补码表示,连同符号位一起相加
C.操作数用补码表示,将加数变补,然后相加
D.操作数用补码表示,将被加数变补,然后相加
5.动态RAM存储信息依靠的是( )
A.电容 B.双稳态触发器
C.晶体管 D.磁场
6.下列存储器中,属于半导体存储器的是( )
A.硬盘 B.动态存储器
C.软盘 D.光盘
7.对于容量为8KB的存储器,寻址所需最小地址位数为( )
A.2 B.3
C.12 D.13
8.一条机器指令中通常包含的信息有( )
A.操作码、控制码 B.操作码、立即数
C.地址码、寄存器号 D.操作码、地址码
9.下列指令助记符中表示减法操作的是( )
A.ADD B.SUB
C.AND D.NEG
10.从主存中取回到CPU中的指令存放位置是( )
A.指令寄存器 B.状态寄存器
C.程序计数器 D.数据寄存器
11.指令执行所需的操作数不会来自( )
A.指令本身 B.主存
C.寄存器 D.控制器
12.微程序控制器将微程序存放在( )
A.主存中 B.寄存器中
C.ROM中 D.RAM中
13.在一个串行传输系统中,每秒可传输12个字节的数据,其比特率是( )
A.8bps B.12bps
C.96bps D.任意
14.并行接口是指( )
A.仅接口与外围设备之间采取并行传送
B.仅接口与系统总线之间采取并行传送
C.接口的两侧均采取并行传送
D.接口内部只能并行传送
15.在磁盘中实现输入输出的数据传送方式( )
A.只采取程序查询等待方式 B.只采取程序中断方式
C.只采取DMA方式 D.既有DMA方式,也有中断方式
二、名词解释题(本大题共3小题,每小题3分,共9分)
16.随机访问存储器(RAM)
17.地址码
18.指令周期
三、简答题(本大题共6小题,每小题5分,共30分)
19.什么是定点数?它有哪些类型?
20.计算机中层次化的存储系统分为哪几层?
21.根据一条指令中地址码的数量,可将指令分为哪几种指令?
22.微程序控制器主要由哪些部分组成?
23.什么是总线?总线上有哪四种基本传输方式?
24.中断与子程序的调用区别在什么地方?转自:考试网 - [Examw.Com]
四、简单应用题(本大题共2小题,每小题9分,共18分)
25.用原码一位乘法进行5×8的四位原码乘法运算,要求写出其运算过程。
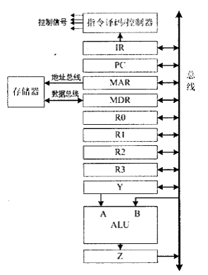
26.设有单总线结构计算机的CPU数据通路及其与存储器的迮接结构如下图所示,其中,R0~R3为通用寄存器,IR为指令寄存器,PC为程序计数器,Y和Z为临时寄存器,MAR为存储器地址寄存器,MDR为存储器数据缓冲寄存器。试写出指令LOAD R3,MEM的执行流程(其中MEM为内存地址值)。指令功能为将存储器MEM中的数据送到寄存器R3中存放。

五、存储器设计题(本大题共1小题,13分)
27.用lK×8位/片的存储芯片构成4K×8位的存储器,地址线为A15(高)~A0(低)。
(1)需要几片这种存储芯片?
(2)存储器共需要几位地址?是哪几位地址线?
(3)加至各芯片的地址线是哪几位?
(4)用于产生片选信号的地址线是哪几位(译码法)?
本文标签:湖南自考 湖南自考计算机组成原理 全国2011年7月自考计算机组成原理试题
转载请注明:文章转载自(http://www.hnzk.hn.cn)
《湖南自考网》免责声明
1、由于各方面情况的调整与变化,本网提供的考试信息仅供参考,考试信息以省考试院及院校官方发布的信息为准。
2、本网信息来源为其他媒体的稿件转载,免费转载出于非商业性学习目的,版权归原作者所有,如有内容与版权问题等请与本站联系。联系邮箱:812379481@qq.com




















