全国2006年7月高等教育自学考试现代教育技术真题
《自考视频课程》名师讲解,轻松易懂,助您轻松上岸!低至199元/科!
课程代码:00413
一、单项选择题(本大题共20小题,每小题1分,共20分)
在每小题列出的四个备选项中只有一个是符合题目要求的,请将其代码填写在题后的括号内。错选、多选或未选均无分。
1.下列教学方法在实践的发展中与教育技术的形成无关的是( )
A.视听教学的发展 B.程序教学发展
C.系统化设计教学的发展 D.学科教学的发展
2.教育技术这一术语是在20世纪20~50年代从( )的视听教育运动中演变而来的。
A.英国 B.法国
C.美国 D.中国
3.在教学技术中解决问题的表现形式是依靠开发、使用学习资源与学习者相互作用来提高人的( )
A.素质 B.学习质量
C.接受能力 D.理解水平
4.以下选项属二维视觉媒体的是( )
A.实物 B.模型
C.非投影视觉媒体 D.象形图
5.线条图属于( )
A.统计图 B.绘画
C.图表 D.简略图
6.照相机上可前后移动镜头,使景物在胶片上影像清晰的部件是( )
A.镜头 B.快门
C.调焦装置 D.取景器
7.如果拍摄一个物体,每次移动很短一段距离并拍摄一个画面,再移动再拍摄,这样在播放时看起来就像是物体在空间连续运动。这是利用了活动图像的( )特性。
A.空间的操作 B.时间的变换
C.动画 D.时间的扩展
8.创造视觉图像时,一般采用( )象征崇高、深远。
A.黑色 B.蓝色
C.红色 D.紫色
9.静态视觉图像中( )结构隐含着力量、给人以刚强的感觉。
A.横线 B.垂直线
C.斜线 D.曲线
10.扬声器是把( )的电声器材。
A.磁信号转换为声信号 B.电能转换为声音信号
C.声信号转换为电信号 D.电信号转变为磁信号
11.( )是记录声音信息的载体。
A.录音磁带 B.唱机
C.录音机 D.传声器
12.在计算机中,其内部数据是可以被随时读写的,掉电或关机时数据将丢失的器件是( )
A.内部存储器 B.只读存储器
C.外部存储器 D.随机存储器
13.互联网为本地用户提供了访问远程系统资源的可能性。用户能够登录到远方的主机上,使用该主机的各种资源。这种网络的信息服务功能属于( )
A.电子邮件系统 B.布告牌系统和新闻组
C.远程登录 D.闭路电视系统
14.合作学习不仅使学习者更好地获得和记忆所学内容,而且也促进了( )和思维技能的发展。
A.人际关系 B.学习技巧
C.自学能力 D.创新意识
15.动作技能需要在行为练习和高度反馈中获得,运用( )可以更为有效与安全地实施训练。
A.模拟游戏 B.角色扮演
C.模拟器 D.教学模拟
16.对于课堂教学,往往更多地使用( )
A.以系统为中心的模式 B.以产品为中心的模式
C.以课堂为中心的模式 D.前三项合一的模式
17.格拉奇和伊利模式从开始便强调确定教学内容和阐明教学目标之间的( );然后根据目标、内容对学生的初始能力进行评定;在此基础上再确定教学策略,安排教学组织形式,分配时间和空间以及选择合适的、已有的教学资源。( )
A.相互作用 B.交互作用
C.必要性 D.重要性
18.“掌握力、质量、加速度三者之间的关系并能具体应用”,属于下列学习结果中的( )
A.智力技能 B.言语信息
C.动作技能 D.认知策略
19.受环境因素影响大的学习者属于下列认知方式中的( )
A.场独立型 B.场依存型
C.反思型 D.冲动型
20.在产生式教学策略中,( )是教学活动的主要责任承担者。
A.教师 B.主持人
C.主办单位 D.学生
二、多项选择题(本大题共10小题,每小题2分,共20分)
在每小题列出的五个备选项中至少有两个是符合题目要求的,请将其代码填写在题后的括号内。错选、多选、少选或未选均无分。
21.对个别化教学说法正确的是( )
A.个别化教学就是自学 B.个别化教学不需要教师参与
C.个别化教学不需要统一的教学材料 D.个别化教学不需要统一的教学步骤
E.个别化教学不需要统一的教学目标
22.教育技术的基本定义中认为教育技术是指教育教学中应用的( )
A.技术手段和技术方法 B.硬件、软件和系统方法
C.教学媒体和系统方法 D.硬件技术和软件技术
E.媒体开发技术和教学过程设计技术
23.放映机的光学系统主要包括( )
A.放映灯泡 B.反光碗
C.聚光镜 D.放映镜头
E.银幕
24.摄像时,一般用全景表现( )
A.人的状态 B.环境气氛
C.人的相互关系 D.人物的活动
E.人物表情
25.制作听觉材料时,可使用( )来增强言语的力量。
A.声调 B.声响效果
C.音量大小 D.音乐
E.暗示信号
26.计算机硬件系统由以下几部分构成:( )
A.中央处理单元 B.内存储器
C.外存储器 D.输入设备
E.输出设备
27.共同学习模式是( )提出来的。
A.克劳德 B.斯金纳
C.戴维·约翰逊 D.格拉奇
E.罗杰·约翰逊
28.学生的“学习过程”应包括( )
A.学生的课堂学习 B.课下寻求多种资源进行学习
C.复习消化甚至应用 D.创新阶段
E.教学评估
29.学生认知方式的主要特征是( )
A.预计性 B.形式化
C.持久性 D.一致性
E.可控性
30.智力技能的教学顺序设计的指导理论是( )
A.加涅的从简单到复杂的教学顺序安排
B.布卢姆的教育目标分类学
C.布鲁纳的发现法
D.奥苏贝尔的“先行组织者”
E.香农—韦弗的传播
三、名词解释题(本大题共5小题,每小题2分,共10分)
31.视觉文化的“解码”
32.计算机多媒体
33.教学设计
34.教学策略
35.可行性
四、填图题(本大题共2小题,每小题5分,共10分)
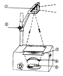
36.下图是投影器的结构与光路图,请把带标号的部件的名称填上。

37.把录音机组成和录放音原理图中未标名称的部分填上名称。
A.______________ B.______________ C.______________ D.______________

五、简答题(本大题共3小题,每小题5分,共15分)
38.参观旅行作为学习活动的优点是什么?
39.下列现象包含着什么原理?请简要说明是什么在起作用。
我们在看电影或电视录像时,银幕或屏幕上的影像都是活动的,而在胶片、录像带和视盘上记录的都是一幅幅的静止画面。
当我们从电影或电视画面中看到青杏时就会想起味酸的感觉而流口水,看到秋千向前摆去就知道它会荡回原处再向相反方向荡去,看到一个人走进花园就知道他或许会在停留浏览之后再走出来等等。
40.简述采取拨号方式上网时必备的条件。
六、论述题(本大题10分)
41.试述各国学者对教学媒体研究的结论并以此分析自己所在学校在媒体运用中的问题。
七、综合题(本大题共15分)
42.某小学教师编写的某个学习目标为:“在这节课内,至少教学生学会3个生字,并预习下一节课。”
(1)请分析该目标的编写有什么错误,为什么?
(2)请你按正确的方法改写这个学习目标。
(3)从你改写的学习目标中找出可作为行为标准的成分。
本文标签:湖南自考 湖南自考现代教育技术 全国2006年7月高等教育自学考试现代教育技术真题
转载请注明:文章转载自(http://www.hnzk.hn.cn)
《湖南自考网》免责声明
1、由于各方面情况的调整与变化,本网提供的考试信息仅供参考,考试信息以省考试院及院校官方发布的信息为准。
2、本网信息来源为其他媒体的稿件转载,免费转载出于非商业性学习目的,版权归原作者所有,如有内容与版权问题等请与本站联系。联系邮箱:812379481@qq.com




















